Везде, где нужен свет
Найти
+7 960 218 1010
0
Корзина
Ваша корзина пуста
Вы еще не добавили ни один товар в корзину
Корзина
Очистить корзину
Каталог товаров
Подбор и расчёт освещения
Адрес, контакты
Скидки
Доставка и оплата
Оформление заказа
Реквизиты
Политика обработки персональных данных
Бренды
Найти
Навигация
Контакты
Каталог
Свет для дома
Назад
Светильники для картин и зеркал
Мебельные светильники
Настенные бра
Настольные лампы
Ночники
Подсветка стен и ступеней
Люстры
Назад
Люстры на штанге
Люстры накладные
Люстры подвесные
Люстры каскадные
Светильники
Назад
Накладные светильники
Подвесные светильники
Линейные светильники
Детские светильники
Назад
Детские люстры
Детские бра
Детские настольные лампы
Детские ночники
Потолочные детские светильники
Детские споты
Детские торшеры
Детские точечные светильники
Светодиодные ленты и комплектующие к ним
Назад
Светодиодные ленты
Драйверы для светодиодных лент
Усилители для светодиодных лент
Контроллеры для светодиодных лент
Блоки питания для светодиодных лент
Экраны для светодиодных лент
Профили для светодиодных лент
Комплектующие для светодиодных лент
Комплектующие для профилей
Диммеры
Споты
Торшеры и напольные светильники
Точечные светильники
Назад
Влагозащищенные точечные светильники
Встраиваемые точечные светильники
Накладные точечные светильники
Подвесные точечные светильники
Шинные и струнные системы
Назад
Трековые светильники
Готовые решения
Шинопроводы
Комплектующие для трековых светильников
Комплектующие для шинопроводов
Драйверы для шинопроводов
Диммеры для шинопроводов
Датчики движения для шинопроводов
Струнные светильники
Струнные шинопроводы
Комплектующие
Назад
Блоки защиты
Блоки питания AC
Подвесы
Рамки декоративные
Модули
Корпусы светильников
Вставки декоративные
Коннекторы модульных светильников
Базы встраиваемые
Базы накладные
Линзы для светильников
Крепежные элементы для светильников
Драйверы для модульных светильников
Стойки для светильников
Рефлекторы
Платы для светодиодов
Разветвители
Клеммы
Удлинители кабелей
Стекла с наклейками
Тубусы картонные
Wi-Fi реле
Накладки на базу
Отражатели
Коробки картонные
Антибликовые решетки
Плафоны
Заглушки модульных светильников
Коронки
Лампы
Назад
Галогеновые лампы
Лампы накаливания
Светодиодные лампы
Ретро лампы
Люминесцентные лампы
Светодиодные модули
Декоративные ниши для натяжных потолков
Назад
Профили для декоративных ниш
Угловые элементы для декоративных ниш
Комплекты заглушек для декоративных ниш
Светильники
Подсветка
Технический свет
Назад
Консольные светильники
Светильники Downlight
Пылевлагозащищенные светильники
Комплектующие
Назад
Кронштейны для светильников
Офисные светильники
Светильники промышленные
Светильники для растениеводства
Электроустановка
Назад
Выключатели
Клавиши. Накладки
Рамки
Розетки
Терморегуляторы
Комплектующие
Назад
Пульты управления для электроустановки
Датчики движения
Патроны
Шнур с выключателем
Монтажные коробки
Контроллеры
Заглушки
Модули подсветки
Лючки для розеток
Диммеры
Суппорты
Трековые системы розеток
Вывод кабеля
Свет для улицы
Назад
Грунтовые светильники
Светильники для стен и ступеней
Светильники для фонтанов и бассейнов
Уличные настенные светильники
Уличные потолочные светильники
Назад
Встраиваемые уличные светильники
Накладные уличные светильники
Подвесные уличные светильники
Прожекторы
Садово-парковые светильники
Назад
Низкие уличные фонари
Высокие уличные фонари
Средние уличные фонари
Садовые фигуры
Праздничное освещение
Назад
Светодиодная бахрома
Светодиодные гирлянды
LED гирлянды на деревья
Светодиодные деревья
Светодиодные нити
Светодиодные занавесы
Светодиодные фигуры
Светодиодные сети
Дюралайт
Комплектующие
Гибкий неон
Белт-Лайт
LED проекторы
Декоративные светильники
Сосульки светодиодные
Лампы декоративные
Светодиодные консоли
Уличные настольные светильники
Уличные блоки розеток
Тротуарные светильники
Фонари
Штативы
Светильники на столбы
Навигация
Подбор и расчёт освещения
Адрес, контакты
Скидки
Доставка и оплата
Оформление заказа
Реквизиты
Политика обработки персональных данных
Бренды
Наше производство
Новости
О компании
Контакты
Магазин
Корзина
0
Избранное
0
Сравнить
0
Контакты
+7 960 218 1010
Телефон салона
+7 (911) 400-24-46
info@led10.ru
E-mail адрес
Подписаться
Telegram
vk.com
Свет для дома
Технический свет
Электроустановка
Свет для улицы
Свет для дома
86329 товаров
Светильники для картин и зеркал
Мебельные светильники
Настенные бра
Настольные лампы
Ночники
Подсветка стен и ступеней
Люстры
Люстры на штанге
Люстры накладные
Люстры подвесные
Люстры каскадные
Светильники
Накладные светильники
Подвесные светильники
Линейные светильники
Детские светильники
Детские люстры
Детские бра
Детские настольные лампы
Детские ночники
Потолочные детские светильники
Детские споты
Детские торшеры
Детские точечные светильники
Светодиодные ленты и комплектующие к ним
Светодиодные ленты
Драйверы для светодиодных лент
Усилители для светодиодных лент
Контроллеры для светодиодных лент
Блоки питания для светодиодных лент
Экраны для светодиодных лент
Профили для светодиодных лент
Комплектующие для светодиодных лент
Комплектующие для профилей
Диммеры
Споты
Торшеры и напольные светильники
Точечные светильники
Влагозащищенные точечные светильники
Встраиваемые точечные светильники
Накладные точечные светильники
Подвесные точечные светильники
Шинные и струнные системы
Трековые светильники
Готовые решения
Шинопроводы
Комплектующие для трековых светильников
Комплектующие для шинопроводов
Драйверы для шинопроводов
Диммеры для шинопроводов
Датчики движения для шинопроводов
Струнные светильники
Струнные шинопроводы
Комплектующие
Блоки защиты
Блоки питания AC
Подвесы
Рамки декоративные
Модули
Корпусы светильников
Вставки декоративные
Коннекторы модульных светильников
Базы встраиваемые
Базы накладные
Линзы для светильников
Крепежные элементы для светильников
Драйверы для модульных светильников
Стойки для светильников
Рефлекторы
Платы для светодиодов
Разветвители
Клеммы
Удлинители кабелей
Стекла с наклейками
Тубусы картонные
Wi-Fi реле
Накладки на базу
Отражатели
Коробки картонные
Антибликовые решетки
Плафоны
Заглушки модульных светильников
Коронки
Лампы
Галогеновые лампы
Лампы накаливания
Светодиодные лампы
Ретро лампы
Люминесцентные лампы
Светодиодные модули
Декоративные ниши для натяжных потолков
Профили для декоративных ниш
Угловые элементы для декоративных ниш
Комплекты заглушек для декоративных ниш
Светильники
Подсветка
Технический свет
3473 товара
Консольные светильники
Светильники Downlight
Пылевлагозащищенные светильники
Комплектующие
Кронштейны для светильников
Офисные светильники
Светильники промышленные
Светильники для растениеводства
Электроустановка
6417 товаров
Выключатели
Клавиши. Накладки
Рамки
Розетки
Терморегуляторы
Комплектующие
Пульты управления для электроустановки
Датчики движения
Патроны
Шнур с выключателем
Монтажные коробки
Контроллеры
Заглушки
Модули подсветки
Лючки для розеток
Диммеры
Суппорты
Трековые системы розеток
Вывод кабеля
Свет для улицы
7806 товаров
Грунтовые светильники
Светильники для стен и ступеней
Светильники для фонтанов и бассейнов
Уличные настенные светильники
Уличные потолочные светильники
Встраиваемые уличные светильники
Накладные уличные светильники
Подвесные уличные светильники
Прожекторы
Садово-парковые светильники
Низкие уличные фонари
Высокие уличные фонари
Средние уличные фонари
Садовые фигуры
Праздничное освещение
Светодиодная бахрома
Светодиодные гирлянды
LED гирлянды на деревья
Светодиодные деревья
Светодиодные нити
Светодиодные занавесы
Светодиодные фигуры
Светодиодные сети
Дюралайт
Комплектующие
Гибкий неон
Белт-Лайт
LED проекторы
Декоративные светильники
Сосульки светодиодные
Лампы декоративные
Светодиодные консоли
Уличные настольные светильники
Уличные блоки розеток
Тротуарные светильники
Фонари
Штативы
Светильники на столбы
Главная
Навигация
0
Корзина
Избранное
Главная страница
Свет для дома
Технический свет
Электроустановка
Свет для улицы
Комплектующие
Светильники для картин и зеркал
Мебельные светильники
Настенные бра
Настольные лампы
Ночники
Подсветка стен и ступеней
Люстры
Светильники
Детские светильники
Светодиодные ленты и комплектующие к ним
Споты
Торшеры и напольные светильники
Точечные светильники
Шинные и струнные системы
Лампы
Декоративные ниши для натяжных потолков
Светильники
Подсветка
Подвесы
Блоки защиты
Блоки питания AC
Рамки декоративные
Модули
Корпусы светильников
Вставки декоративные
Коннекторы модульных светильников
Базы встраиваемые
Базы накладные
Линзы для светильников
Крепежные элементы для светильников
Драйверы для модульных светильников
Стойки для светильников
Рефлекторы
Платы для светодиодов
Разветвители
Клеммы
Удлинители кабелей
Стекла с наклейками
Тубусы картонные
Wi-Fi реле
Накладки на базу
Отражатели
Коробки картонные
Антибликовые решетки
Плафоны
Заглушки модульных светильников
Коронки
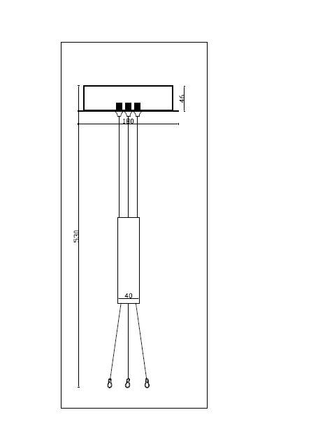
Подвес Maytoni Technical C032C-04-MG
Подвес Maytoni Technical C032C-04-MG
Артикул:
C032C-04-MG
Сравнить
Избранное
Увеличить
Цена:
0
₽
1 350
₽
Запросить цену
1
В корзину
Доставим за 3-7 дней
Бренд
Maytoni Technical
стиль
современный
цвет арматуры
золото матовое
материал арматуры
алюминий
ширина/диаметр
40
Все характеристики
Характеристики
Характеристики
Бренд
Maytoni Technical
стиль
современный
цвет арматуры
золото матовое
материал арматуры
алюминий
ширина/диаметр
40
высота
1500
страна происхождения
Германия
коллекция
Zon
вес коробки
0.66
количество грузовых мест
1
объем коробки
0.003
размер коробки (ДхШхВ)
70х215х215
выключатель
Нет
диммируемость
Нет
высота минимальная
550
Вся коллекция Zon
Накладной светильник Maytoni Technical C032CL-L43MG4K
Накладной светильник Maytoni Technical C032CL-L43MG4K
площадь освещения
11
объем коробки
0.006
количество грузовых мест
1
0
₽
6 390
₽
Срок поставки по запросу
0
₽
6 390
₽
Накладной светильник Maytoni Technical C032CL-L32MG3K
Накладной светильник Maytoni Technical C032CL-L32MG3K
площадь освещения
8
объем коробки
0.003
количество грузовых мест
1
0
₽
4 300
₽
Срок поставки по запросу
0
₽
4 300
₽
Накладной светильник Maytoni Technical C067CL-L12B3K
Накладной светильник Maytoni Technical C067CL-L12B3K
площадь освещения
4
объем коробки
0.001
количество грузовых мест
1
0
₽
2 090
₽
Доставим за 3-7 дней
0
₽
2 090
₽
Накладной светильник Maytoni Technical C032CL-L32B4K
Накладной светильник Maytoni Technical C032CL-L32B4K
площадь освещения
8
объем коробки
0.003
количество грузовых мест
1
0
₽
2 660
₽
Срок поставки по запросу
0
₽
2 660
₽
База накладная Maytoni Technical C032C-04-MG-1
База накладная Maytoni Technical C032C-04-MG-1
объем коробки
0.003
количество грузовых мест
1
вес коробки
0.65
0
₽
3 110
₽
Доставим за 3-7 дней
0
₽
3 110
₽
База накладная Maytoni Technical C032C-04-B-1
База накладная Maytoni Technical C032C-04-B-1
объем коробки
0.003
количество грузовых мест
1
вес коробки
0.65
0
₽
2 810
₽
Срок поставки по запросу
0
₽
2 810
₽
База накладная Maytoni Technical C032C-04-W-1
База накладная Maytoni Technical C032C-04-W-1
объем коробки
0.003
количество грузовых мест
1
вес коробки
0.65
0
₽
2 810
₽
Доставим за 3-7 дней
0
₽
2 810
₽
Подвес Maytoni Technical C032C-04-MG
Подвес Maytoni Technical C032C-04-MG
объем коробки
0.003
количество грузовых мест
1
вес коробки
0.66
0
₽
1 350
₽
Доставим за 3-7 дней
0
₽
1 350
₽
Подвес Maytoni Technical C032C-03-W
Подвес Maytoni Technical C032C-03-W
длина цепи
1450
тип подвеса
трос (провод)
объем коробки
0.003
0
₽
2 700
₽
Срок поставки по запросу
0
₽
2 700
₽
Подвес Maytoni Technical C032C-03-B
Подвес Maytoni Technical C032C-03-B
длина цепи
1450
тип подвеса
трос (провод)
объем коробки
0.003
0
₽
2 250
₽
Срок поставки по запросу
0
₽
2 250
₽
Светильник на шине Maytoni Technical TR204-1-12W3K-B
Светильник на шине Maytoni Technical TR204-1-12W3K-B
количество фаз
двухфазный
цветопередача
>90
магнитный
Да
0
₽
4 690
₽
Доставим за 3-7 дней
0
₽
4 690
₽
Светильник на шине Maytoni Technical TR204-1-12W3K-BBS
Светильник на шине Maytoni Technical TR204-1-12W3K-BBS
количество фаз
двухфазный
цветопередача
>90
магнитный
Да
0
₽
5 190
₽
Доставим за 3-7 дней
0
₽
5 190
₽
Светильник на шине Maytoni Technical TR189-1-12W3K-BBS
Светильник на шине Maytoni Technical TR189-1-12W3K-BBS
количество фаз
двухфазный
цветопередача
>90
магнитный
Да
0
₽
5 790
₽
Доставим за 3-7 дней
0
₽
5 790
₽
Светильник на шине Maytoni Technical TR189-1-12W3K-BW
Светильник на шине Maytoni Technical TR189-1-12W3K-BW
количество фаз
двухфазный
цветопередача
>90
магнитный
Да
0
₽
5 390
₽
Срок поставки по запросу
0
₽
5 390
₽
Светильник на шине Maytoni Technical TR189-1-12W4K-B
Светильник на шине Maytoni Technical TR189-1-12W4K-B
количество фаз
двухфазный
цветопередача
>90
магнитный
Да
0
₽
5 390
₽
Срок поставки по запросу
0
₽
5 390
₽
Светильник на шине Maytoni Technical TR189-1-12W2.7K-BBS
Светильник на шине Maytoni Technical TR189-1-12W2.7K-BBS
количество фаз
двухфазный
цветопередача
>90
магнитный
Да
0
₽
5 790
₽
Доставим за 3-7 дней
0
₽
5 790
₽
Светильник на шине Maytoni Technical TR189-1-12W2.7K-B
Светильник на шине Maytoni Technical TR189-1-12W2.7K-B
количество фаз
двухфазный
цветопередача
>90
магнитный
Да
0
₽
5 390
₽
Доставим за 3-7 дней
0
₽
5 390
₽
Светильник на шине Maytoni Technical TR189-1-12W3K-B
Светильник на шине Maytoni Technical TR189-1-12W3K-B
количество фаз
двухфазный
цветопередача
>90
магнитный
Да
0
₽
5 390
₽
Срок поставки по запросу
0
₽
5 390
₽
Светильник на шине Maytoni Technical TR189-1-12W4K-BBS
Светильник на шине Maytoni Technical TR189-1-12W4K-BBS
количество фаз
двухфазный
цветопередача
>90
магнитный
Да
0
₽
5 790
₽
Доставим за 3-7 дней
0
₽
5 790
₽
Светильник на шине Maytoni Technical TR189-1-12W4K-BW
Светильник на шине Maytoni Technical TR189-1-12W4K-BW
количество фаз
двухфазный
цветопередача
>90
магнитный
Да
0
₽
5 390
₽
Доставим за 3-7 дней
0
₽
5 390
₽
Светильник на шине Maytoni Technical TR189-1-12W2.7K-BW
Светильник на шине Maytoni Technical TR189-1-12W2.7K-BW
количество фаз
двухфазный
цветопередача
>90
магнитный
Да
0
₽
5 390
₽
Доставим за 3-7 дней
0
₽
5 390
₽
Светильник на шине Maytoni Technical TR043-1-12W3K-W
Светильник на шине Maytoni Technical TR043-1-12W3K-W
количество фаз
однофазный
магнитный
Нет
площадь освещения
4
0
₽
6 890
₽
Доставим за 3-7 дней
0
₽
6 890
₽
Светильник на шине Maytoni Technical TR043-1-12W4K-W
Светильник на шине Maytoni Technical TR043-1-12W4K-W
количество фаз
однофазный
магнитный
Нет
площадь освещения
4
0
₽
6 890
₽
Доставим за 3-7 дней
0
₽
6 890
₽
Светильник на шине Maytoni Technical TR043-1-12W4K-B
Светильник на шине Maytoni Technical TR043-1-12W4K-B
количество фаз
однофазный
магнитный
Нет
площадь освещения
4
0
₽
6 890
₽
Доставим за 3-7 дней
0
₽
6 890
₽
Светильник на шине Maytoni Technical TR043-1-12W3K-B
Светильник на шине Maytoni Technical TR043-1-12W3K-B
количество фаз
однофазный
магнитный
Нет
площадь освещения
4
0
₽
6 890
₽
Доставим за 3-7 дней
0
₽
6 890
₽
Накладной светильник Maytoni Technical C032CL-45W2.7K-RD-W
Накладной светильник Maytoni Technical C032CL-45W2.7K-RD-W
тип монтажа
накладной
цветопередача
>90
площадь освещения
15
0
₽
11 200
₽
Доставим за 3-7 дней
0
₽
11 200
₽
Накладной светильник Maytoni Technical C032CL-12W2.7K-RD-MG
Накладной светильник Maytoni Technical C032CL-12W2.7K-RD-MG
тип монтажа
накладной
цветопередача
>90
площадь освещения
4
0
₽
3 350
₽
Доставим за 3-7 дней
0
₽
3 350
₽
Накладной светильник Maytoni Technical C032CL-45W2.7K-RD-B
Накладной светильник Maytoni Technical C032CL-45W2.7K-RD-B
цветопередача
>90
площадь освещения
15
объем коробки
0.0109
0
₽
11 200
₽
Доставим за 3-7 дней
0
₽
11 200
₽
Накладной светильник Maytoni Technical C032CL-12W2.7K-RD-B
Накладной светильник Maytoni Technical C032CL-12W2.7K-RD-B
цветопередача
>90
площадь освещения
4
объем коробки
0.0022
0
₽
3 090
₽
Доставим за 3-7 дней
0
₽
3 090
₽
Накладной светильник Maytoni Technical C032CL-45W2.7K-RD-MG
Накладной светильник Maytoni Technical C032CL-45W2.7K-RD-MG
цветопередача
>90
площадь освещения
15
объем коробки
0.0125
0
₽
12 130
₽
Доставим за 3-7 дней
0
₽
12 130
₽
Накладной светильник Maytoni Technical C032CL-12W2.7K-RD-W
Накладной светильник Maytoni Technical C032CL-12W2.7K-RD-W
цветопередача
>90
площадь освещения
4
объем коробки
0.0022
0
₽
3 090
₽
Доставим за 3-7 дней
0
₽
3 090
₽
Накладной светильник Maytoni Technical C032CL-36W4K-RD-B
Накладной светильник Maytoni Technical C032CL-36W4K-RD-B
цветопередача
>90
объем коробки
0.0078
количество грузовых мест
1
0
₽
7 640
₽
Доставим за 3-7 дней
0
₽
7 640
₽
Накладной светильник Maytoni Technical C032CL-45W3K-SQ-B
Накладной светильник Maytoni Technical C032CL-45W3K-SQ-B
цветопередача
>90
объем коробки
0.0125
количество грузовых мест
1
0
₽
12 470
₽
Срок поставки по запросу
0
₽
12 470
₽
Накладной светильник Maytoni Technical C032CL-45W3K-SQ-W
Накладной светильник Maytoni Technical C032CL-45W3K-SQ-W
цветопередача
>90
объем коробки
0.0125
количество грузовых мест
1
0
₽
12 470
₽
Доставим за 3-7 дней
0
₽
12 470
₽
Накладной светильник Maytoni Technical C032CL-45W4K-SQ-W
Накладной светильник Maytoni Technical C032CL-45W4K-SQ-W
цветопередача
>90
объем коробки
0.0125
количество грузовых мест
1
0
₽
12 470
₽
Срок поставки по запросу
0
₽
12 470
₽
Накладной светильник Maytoni Technical C032CL-90W4K-RD-MG
Накладной светильник Maytoni Technical C032CL-90W4K-RD-MG
цветопередача
>90
объем коробки
0.0276
количество грузовых мест
1
0
₽
25 660
₽
Доставим за 3-7 дней
0
₽
25 660
₽
Накладной светильник Maytoni Technical C032CL-90W3K-SQ-W
Накладной светильник Maytoni Technical C032CL-90W3K-SQ-W
цветопередача
>90
объем коробки
0.0276
количество грузовых мест
1
0
₽
21 830
₽
Доставим за 3-7 дней
0
₽
21 830
₽
Накладной светильник Maytoni Technical C032CL-90W3K-RD-MG
Накладной светильник Maytoni Technical C032CL-90W3K-RD-MG
цветопередача
>90
объем коробки
0.0276
количество грузовых мест
1
0
₽
25 660
₽
Доставим за 3-7 дней
0
₽
25 660
₽
Накладной светильник Maytoni Technical C032CL-90W3K-SQ-B
Накладной светильник Maytoni Technical C032CL-90W3K-SQ-B
цветопередача
>90
объем коробки
0.0276
количество грузовых мест
1
0
₽
21 830
₽
Доставим за 3-7 дней
0
₽
21 830
₽
Накладной светильник Maytoni Technical C032CL-24W3K-RD-B
Накладной светильник Maytoni Technical C032CL-24W3K-RD-B
цветопередача
>90
площадь освещения
8
объем коробки
0.004
0
₽
5 320
₽
Доставим за 3-7 дней
0
₽
5 320
₽
Накладной светильник Maytoni Technical C032CL-24W3K-RD-MG
Накладной светильник Maytoni Technical C032CL-24W3K-RD-MG
цветопередача
>90
площадь освещения
8
объем коробки
0.004
0
₽
5 930
₽
Доставим за 3-7 дней
0
₽
5 930
₽
Накладной светильник Maytoni Technical C032CL-36W4K-RD-MG
Накладной светильник Maytoni Technical C032CL-36W4K-RD-MG
цветопередача
>90
площадь освещения
12
объем коробки
0.0078
0
₽
8 740
₽
Доставим за 3-7 дней
0
₽
8 740
₽
Накладной светильник Maytoni Technical C032CL-24W4K-RD-MG
Накладной светильник Maytoni Technical C032CL-24W4K-RD-MG
цветопередача
>90
площадь освещения
8
объем коробки
0.004
0
₽
5 930
₽
Доставим за 3-7 дней
0
₽
5 930
₽
Накладной светильник Maytoni Technical C032CL-36W3K-RD-MG
Накладной светильник Maytoni Technical C032CL-36W3K-RD-MG
цветопередача
>90
площадь освещения
12
объем коробки
0.0078
0
₽
8 740
₽
Доставим за 3-7 дней
0
₽
8 740
₽
Накладной светильник Maytoni Technical C032CL-45W4K-RD-W
Накладной светильник Maytoni Technical C032CL-45W4K-RD-W
цветопередача
>90
площадь освещения
15
объем коробки
0.0119
0
₽
11 200
₽
Доставим за 3-7 дней
0
₽
11 200
₽
Накладной светильник Maytoni Technical C032CL-45W4K-RD-MG
Накладной светильник Maytoni Technical C032CL-45W4K-RD-MG
цветопередача
>90
площадь освещения
15
объем коробки
0.0125
0
₽
12 130
₽
Доставим за 3-7 дней
0
₽
12 130
₽
Накладной светильник Maytoni Technical C032CL-24W4K-RD-W
Накладной светильник Maytoni Technical C032CL-24W4K-RD-W
цветопередача
>90
площадь освещения
8
объем коробки
0.004
0
₽
5 320
₽
Доставим за 3-7 дней
0
₽
5 320
₽
Накладной светильник Maytoni Technical C032CL-36W4K-SQ-W
Накладной светильник Maytoni Technical C032CL-36W4K-SQ-W
цветопередача
>90
площадь освещения
12
объем коробки
0.008
0
₽
7 650
₽
Срок поставки по запросу
0
₽
7 650
₽
Накладной светильник Maytoni Technical C032CL-36W3K-RD-B
Накладной светильник Maytoni Technical C032CL-36W3K-RD-B
цветопередача
>90
площадь освещения
12
объем коробки
0.008
0
₽
7 640
₽
Доставим за 3-7 дней
0
₽
7 640
₽
Накладной светильник Maytoni Technical C032CL-36W4K-RD-W
Накладной светильник Maytoni Technical C032CL-36W4K-RD-W
цветопередача
>90
площадь освещения
12
объем коробки
0.008
0
₽
7 640
₽
Доставим за 3-7 дней
0
₽
7 640
₽
Накладной светильник Maytoni Technical C032CL-45W3K-RD-MG
Накладной светильник Maytoni Technical C032CL-45W3K-RD-MG
цветопередача
>90
площадь освещения
15
объем коробки
0.013
0
₽
12 130
₽
Доставим за 3-7 дней
0
₽
12 130
₽
Накладной светильник Maytoni Technical C032CL-45W3K-RD-B
Накладной светильник Maytoni Technical C032CL-45W3K-RD-B
цветопередача
>90
площадь освещения
15
объем коробки
0.013
0
₽
11 200
₽
Доставим за 3-7 дней
0
₽
11 200
₽
Накладной светильник Maytoni Technical C032CL-45W4K-SQ-B
Накладной светильник Maytoni Technical C032CL-45W4K-SQ-B
цветопередача
>90
площадь освещения
15
объем коробки
0.013
0
₽
12 470
₽
Доставим за 3-7 дней
0
₽
12 470
₽
Накладной светильник Maytoni Technical C032CL-36W3K-RD-W
Накладной светильник Maytoni Technical C032CL-36W3K-RD-W
цветопередача
>90
площадь освещения
12
объем коробки
0.014
0
₽
7 640
₽
Доставим за 3-7 дней
0
₽
7 640
₽
Накладной светильник Maytoni Technical C032CL-24W4K-SQ-W
Накладной светильник Maytoni Technical C032CL-24W4K-SQ-W
цветопередача
>90
площадь освещения
8
объем коробки
0.002
0
₽
5 390
₽
Доставим за 3-7 дней
0
₽
5 390
₽
Накладной светильник Maytoni Technical C032CL-24W3K-RD-W
Накладной светильник Maytoni Technical C032CL-24W3K-RD-W
цветопередача
>90
площадь освещения
8
объем коробки
0.006
0
₽
5 320
₽
Доставим за 3-7 дней
0
₽
5 320
₽
Накладной светильник Maytoni Technical C032CL-36W3K-SQ-B
Накладной светильник Maytoni Technical C032CL-36W3K-SQ-B
цветопередача
>90
площадь освещения
12
объем коробки
0.007
0
₽
7 650
₽
Доставим за 3-7 дней
0
₽
7 650
₽
Накладной светильник Maytoni Technical C032CL-12W4K-SQ-W
Накладной светильник Maytoni Technical C032CL-12W4K-SQ-W
цветопередача
>90
площадь освещения
4
объем коробки
0.002
0
₽
3 190
₽
Срок поставки по запросу
0
₽
3 190
₽
Накладной светильник Maytoni Technical C032CL-12W3K-RD-B
Накладной светильник Maytoni Technical C032CL-12W3K-RD-B
цветопередача
>90
площадь освещения
4
объем коробки
0.002
0
₽
3 090
₽
Доставим за 3-7 дней
0
₽
3 090
₽
Накладной светильник Maytoni Technical C032CL-24W4K-SQ-B
Накладной светильник Maytoni Technical C032CL-24W4K-SQ-B
цветопередача
>90
площадь освещения
8
объем коробки
0.002
0
₽
5 390
₽
Срок поставки по запросу
0
₽
5 390
₽
Накладной светильник Maytoni Technical C032CL-12W3K-SQ-B
Накладной светильник Maytoni Technical C032CL-12W3K-SQ-B
цветопередача
>90
площадь освещения
4
объем коробки
0.002
0
₽
3 190
₽
Доставим за 3-7 дней
0
₽
3 190
₽
Накладной светильник Maytoni Technical C032CL-12W4K-RD-W
Накладной светильник Maytoni Technical C032CL-12W4K-RD-W
цветопередача
>90
площадь освещения
4
объем коробки
0.002
0
₽
3 090
₽
Доставим за 3-7 дней
0
₽
3 090
₽
Накладной светильник Maytoni Technical C032CL-90W3K-RD-B
Накладной светильник Maytoni Technical C032CL-90W3K-RD-B
цветопередача
>90
площадь освещения
30
объем коробки
0.028
0
₽
22 930
₽
Доставим за 3-7 дней
0
₽
22 930
₽
Накладной светильник Maytoni Technical C032CL-90W4K-SQ-W
Накладной светильник Maytoni Technical C032CL-90W4K-SQ-W
цветопередача
>90
площадь освещения
30
объем коробки
0.028
0
₽
21 830
₽
Доставим за 3-7 дней
0
₽
21 830
₽
Накладной светильник Maytoni Technical C032CL-12W4K-RD-MG
Накладной светильник Maytoni Technical C032CL-12W4K-RD-MG
цветопередача
>90
площадь освещения
4
объем коробки
0.002
0
₽
3 350
₽
Доставим за 3-7 дней
0
₽
3 350
₽
Накладной светильник Maytoni Technical C032CL-90W4K-SQ-B
Накладной светильник Maytoni Technical C032CL-90W4K-SQ-B
цветопередача
>90
площадь освещения
30
объем коробки
0.026
0
₽
21 830
₽
Доставим за 3-7 дней
0
₽
21 830
₽
Накладной светильник Maytoni Technical C032CL-24W3K-SQ-B
Накладной светильник Maytoni Technical C032CL-24W3K-SQ-B
цветопередача
>90
площадь освещения
8
объем коробки
0.004
0
₽
5 390
₽
Доставим за 3-7 дней
0
₽
5 390
₽
Накладной светильник Maytoni Technical C032CL-12W3K-SQ-W
Накладной светильник Maytoni Technical C032CL-12W3K-SQ-W
цветопередача
>90
площадь освещения
4
объем коробки
0.002
0
₽
3 190
₽
Доставим за 3-7 дней
0
₽
3 190
₽
Накладной светильник Maytoni Technical C032CL-12W4K-RD-B
Накладной светильник Maytoni Technical C032CL-12W4K-RD-B
цветопередача
>90
площадь освещения
4
объем коробки
0.002
0
₽
3 090
₽
Доставим за 3-7 дней
0
₽
3 090
₽
Накладной светильник Maytoni Technical C032CL-12W3K-RD-W
Накладной светильник Maytoni Technical C032CL-12W3K-RD-W
цветопередача
>90
площадь освещения
4
объем коробки
0.002
0
₽
3 090
₽
Доставим за 3-7 дней
0
₽
3 090
₽
Накладной светильник Maytoni Technical C032CL-24W3K-SQ-W
Накладной светильник Maytoni Technical C032CL-24W3K-SQ-W
цветопередача
>90
площадь освещения
8
объем коробки
0.006
0
₽
5 390
₽
Доставим за 3-7 дней
0
₽
5 390
₽
Накладной светильник Maytoni Technical C032CL-12W4K-SQ-B
Накладной светильник Maytoni Technical C032CL-12W4K-SQ-B
цветопередача
>90
площадь освещения
4
объем коробки
0.002
0
₽
3 190
₽
Срок поставки по запросу
0
₽
3 190
₽
Накладной светильник Maytoni Technical C032CL-12W3K-RD-MG
Накладной светильник Maytoni Technical C032CL-12W3K-RD-MG
цветопередача
>90
площадь освещения
4
объем коробки
0.002
0
₽
3 350
₽
Срок поставки по запросу
0
₽
3 350
₽
Накладной светильник Maytoni Technical C032CL-90W3K-RD-W
Накладной светильник Maytoni Technical C032CL-90W3K-RD-W
цветопередача
>90
площадь освещения
30
объем коробки
0.028
0
₽
22 930
₽
Доставим за 3-7 дней
0
₽
22 930
₽
Накладной светильник Maytoni Technical C032CL-36W4K-SQ-B
Накладной светильник Maytoni Technical C032CL-36W4K-SQ-B
цветопередача
>90
площадь освещения
12
объем коробки
0.014
0
₽
7 650
₽
Доставим за 3-7 дней
0
₽
7 650
₽
Накладной светильник Maytoni Technical C032CL-36W3K-SQ-W
Накладной светильник Maytoni Technical C032CL-36W3K-SQ-W
цветопередача
>90
площадь освещения
12
объем коробки
0.007
0
₽
7 650
₽
Доставим за 3-7 дней
0
₽
7 650
₽
Накладной светильник Maytoni Technical C032CL-45W4K-RD-B
Накладной светильник Maytoni Technical C032CL-45W4K-RD-B
цветопередача
>90
площадь освещения
15
объем коробки
0.012
0
₽
11 200
₽
Доставим за 3-7 дней
0
₽
11 200
₽
Накладной светильник Maytoni Technical C032CL-24W4K-RD-B
Накладной светильник Maytoni Technical C032CL-24W4K-RD-B
цветопередача
>90
площадь освещения
8
объем коробки
0.006
0
₽
5 320
₽
Срок поставки по запросу
0
₽
5 320
₽
Накладной светильник Maytoni Technical C032CL-90W4K-RD-B
Накладной светильник Maytoni Technical C032CL-90W4K-RD-B
цветопередача
>90
площадь освещения
30
объем коробки
0.028
0
₽
22 930
₽
Доставим за 3-7 дней
0
₽
22 930
₽
Накладной светильник Maytoni Technical C032CL-45W3K-RD-W
Накладной светильник Maytoni Technical C032CL-45W3K-RD-W
цветопередача
>90
площадь освещения
15
объем коробки
0.012
0
₽
11 200
₽
Доставим за 3-7 дней
0
₽
11 200
₽
Накладной светильник Maytoni Technical C032CL-90W4K-RD-W
Накладной светильник Maytoni Technical C032CL-90W4K-RD-W
цветопередача
>90
площадь освещения
30
объем коробки
0.028
0
₽
22 930
₽
Доставим за 3-7 дней
0
₽
22 930
₽
Накладной светильник Maytoni Technical C032CL-L43MG3K
Накладной светильник Maytoni Technical C032CL-L43MG3K
площадь освещения
11
объем коробки
0.006
количество грузовых мест
1
0
₽
6 520
₽
Срок поставки по запросу
0
₽
6 520
₽
Накладной светильник Maytoni Technical C032CL-L48B3K
Накладной светильник Maytoni Technical C032CL-L48B3K
площадь освещения
15
объем коробки
0.013
количество грузовых мест
1
0
₽
8 790
₽
Срок поставки по запросу
0
₽
8 790
₽
Накладной светильник Maytoni Technical C032CL-L12W3K
Накладной светильник Maytoni Technical C032CL-L12W3K
площадь освещения
4
объем коробки
0.001
количество грузовых мест
1
0
₽
2 390
₽
Срок поставки по запросу
0
₽
2 390
₽
Накладной светильник Maytoni Technical C067CL-L12W4K
Накладной светильник Maytoni Technical C067CL-L12W4K
площадь освещения
4
объем коробки
0.001
количество грузовых мест
1
0
₽
1 460
₽
Срок поставки по запросу
0
₽
1 460
₽
Накладной светильник Maytoni Technical C067CL-L27B3K
Накладной светильник Maytoni Technical C067CL-L27B3K
площадь освещения
8
объем коробки
0.003
количество грузовых мест
1
0
₽
3 790
₽
Срок поставки по запросу
0
₽
3 790
₽
Накладной светильник Maytoni Technical C067CL-L27W3K
Накладной светильник Maytoni Technical C067CL-L27W3K
площадь освещения
8
объем коробки
0.003
количество грузовых мест
1
0
₽
2 220
₽
Срок поставки по запросу
0
₽
2 220
₽
Накладной светильник Maytoni Technical C032CL-L12W4K
Накладной светильник Maytoni Technical C032CL-L12W4K
площадь освещения
4
объем коробки
0.001
количество грузовых мест
1
0
₽
2 440
₽
Срок поставки по запросу
0
₽
2 440
₽
185003
Петрозаводск
ул. Володарского, д. 10
185003
Петрозаводск
ул. Володарского, д. 10
Мы используем файлы cookies
Получите консультацию специалистов
Ответим в течение 15 минут
Имя :
Телефон :
Сообщение :
Я принимаю условия
политики конфиденциальности
Отправить
Создайте новый блок с именем shop.popup в бэкенде
Будьте в курсе наших новостей
Подпишитесь на рассылку
Email :
Я принимаю условия политики обработки персональных данных
Подписаться
Загрузка
Загрузка
Загрузка